60e1 रेल आयामों की सटीक आधार चौड़ाई और शीर्ष चौड़ाई क्या है?
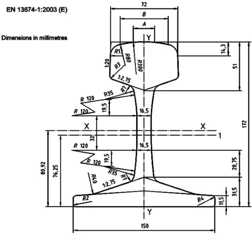
60ई1 रेल,याUIC60 रेल, एक भारी रेल है जिसका व्यापक रूप से उच्च {{0}गति, माल ढुलाई और मिश्रित {{1}यातायात लाइनों में उपयोग किया जाता है। इसका प्रदर्शन न केवल सामग्री और कठोरता पर बल्कि सटीकता पर भी निर्भर करता है60e1 रेल आयाम. सबसे महत्वपूर्ण मापदंडों में से दो हैंआधार चौड़ाईऔरसिर की चौड़ाई, जो ट्रैक स्थिरता, फास्टनिंग सिस्टम फिट और समग्र रेल जीवन को प्रभावित करते हैं। मानक60e1 रेल वजन किलो प्रति मीटर60 किग्रा/मीटर है, और यह60e1 रेल प्रोफ़ाइलट्रैक पर इष्टतम भार वितरण सुनिश्चित करता है।
के लिए मानक आयाम60E1 रेलविनिमेयता और प्रदर्शन को बनाए रखने के लिए सटीक रूप से परिभाषित किया गया है:

| यूआईसी860 मानक | |||||||
| आकार | आयाम | वजन (किलो/मीटर) | सामग्री | लंबाई (एम) | |||
| सिर (मिमी) | ऊंचाई (मिमी) | आधार | वेब | ||||
| यूआईसी54 | 70 | 159 | 140 | 16 | 54.43 | 900A/1100 | 12-25 |
| यूआईसी60 | 72 | 172 | 150 | 16.5 | 60.21 | 900A/1100 | 12-25 |
ये आयाम सही रेल गेज को बनाए रखने, क्लिप और बेस प्लेटों के साथ उचित जुड़ाव और लोड के तहत इष्टतम तनाव वितरण के लिए महत्वपूर्ण हैं।
जीएनईई रेलआपूर्तिरेल uic60 / 60e1 रेलइन महत्वपूर्ण आयामों के सख्त नियंत्रण के साथ, यह सुनिश्चित करना कि रेलें EN 13674-1 मानकों को पूरा करती हैं और लगातार स्थापना प्रदर्शन प्रदान करती हैं।
आधार और सिर की चौड़ाई का इंजीनियरिंग महत्व

- रेल हेड की चौड़ाई (74 मिमी): पहियों के साथ पर्याप्त संपर्क क्षेत्र सुनिश्चित करता है, जिससे घिसाव और पहिया क्षति कम होती है।
- रेल आधार की चौड़ाई (150 मिमी): स्लीपरों और गिट्टी पर ऊर्ध्वाधर भार वितरित करती है, जिससे ट्रैक की स्थिरता बढ़ती है और निपटान कम होता है।
सटीक आयाम अत्यधिक तनाव सांद्रता को रोकते हैं, फास्टनिंग सिस्टम जुड़ाव में सुधार करते हैं, और समय के साथ ट्रैक संरेखण बनाए रखते हैं।
जीएनईई रेलउत्पादन और रोलिंग के दौरान चौड़ाई सहनशीलता की निगरानी करता है, वितरित सभी रेलों में लगातार यूआईसी60 रेल अनुभाग प्रदर्शन की गारंटी देता है।
60e1 रेल प्रोफ़ाइल का उपयोग करने के क्या फायदे हैं?
60E1 (UIC60) रेल प्रोफाइल एक व्यापक रूप से अपनाया गया यूरोपीय मानक (EN 13674-1) है जो उच्च गति, भारी ढुलाई और मेट्रो रेल प्रणालियों के लिए डिज़ाइन किया गया है, जिसका वजन 60.21 किलोग्राम/मीटर है। इसके मुख्य लाभों में बढ़ी हुई संरचनात्मक ताकत, भारी धुरी भार (30 टन से अधिक) के तहत बेहतर स्थायित्व, उत्कृष्ट थकान प्रतिरोध, कम रखरखाव के लिए सतत वेल्डेड रेल (सीडब्ल्यूआर) के साथ उच्च संगतता और एक डिज़ाइन किया गया क्रॉस-सेक्शन शामिल है जो गिट्टी पर लोड वितरण को अनुकूलित करता है।
60E1 रेल प्रोफ़ाइल के मुख्य लाभ:
- सुपीरियर लोड वितरण और ताकत: 60E1 रेल की ऊंचाई 172 मिमी और 150 मिमी चौड़ा आधार है, जो स्लीपरों पर भारी भार को अधिक समान रूप से वितरित करने के लिए अनुकूलित है। इससे ट्रैक की बुनियाद पर तनाव कम होता है, जिससे समग्र सिस्टम स्थिरता बढ़ती है।
- उच्च घिसाव और थकान प्रतिरोध: उच्च {{0}यातायात वातावरण के लिए इंजीनियर किए गए, 60E1 रेल अक्सर उच्च {{3}ग्रेड, प्रीमियम कार्बन {{4}मैंगनीज स्टील (उदाहरण के लिए, R260, R350HT) से निर्मित होते हैं। हेड ज्योमेट्री को संपर्क तनाव और घिसाव को कम करने के लिए डिज़ाइन किया गया है।
- उच्च गति और भारी ढुलाई के लिए आदर्श: मजबूत प्रोफ़ाइल और उच्च थकान प्रतिरोध इसे उच्च गति लाइनों और भारी माल परिवहन के लिए उपयुक्त बनाता है, जिससे स्थिरता और सुरक्षा सुनिश्चित होती है।
- रखरखाव दक्षता (सीडब्ल्यूआर संगतता): 60E1 रेल सतत वेल्डेड रेल (सीडब्ल्यूआर) स्थापना के लिए अत्यधिक उपयुक्त है। इससे जोड़ों की संख्या कम हो जाती है, जिससे रखरखाव की आवृत्ति और लागत काफी कम हो जाती है, साथ ही यात्रा आसान हो जाती है।
- मानकीकरण और अनुकूलता: एक अंतरराष्ट्रीय मानक (यूआईसी 860 और ईएन 13674-1) होने के नाते, 60ई1 रेल व्यापक रूप से उपलब्ध हैं और विनिमेय हैं, जिससे यूरोप, एशिया और अन्य क्षेत्रों में आसान रखरखाव और बुनियादी ढांचे के विस्तार की सुविधा मिलती है।
- विस्तारित सेवा जीवन: इसका 51 मिमी ऊंचा - ताकत वाला हेड प्रोफाइल को बहाल करने के लिए अपने जीवनकाल में कई पीसने के संचालन की अनुमति देता है, जिससे रेल की कुल सेवा जीवन बढ़ जाती है।
जीएनईई रेलपूरी तरह से सत्यापित हेड चौड़ाई, आधार चौड़ाई और 60e1 रेल प्रोफ़ाइल के साथ UIC60 और 60e1 रेल की आपूर्ति करता है। रेलों का निर्माण सख्त आयामी नियंत्रण और प्रति मीटर लगातार किलोग्राम वजन के साथ किया जाता है, जिससे फास्टनिंग सिस्टम के साथ उचित फिट और ट्रैक पर विश्वसनीय प्रदर्शन सुनिश्चित होता है। स्थापना की सुविधा के लिए कटिंग, ड्रिलिंग और बेस प्लेट या क्लिप के साथ जोड़ी बनाने जैसी वैकल्पिक सेवाएँ उपलब्ध हैं।जीएनईई रेल से संपर्क करेंसटीक रेल आयाम सत्यापन और अनुरूप रेल आपूर्ति समाधान प्राप्त करने के लिए।

